11月5日,青岛金融监管局发布公告显示,根据《中华人民共和国行政许可法》第七十条和《保险代理人监管规定》第七十九条的相关规定,青岛金融监管局依法注销山东安盈保险代理有限公司《保险中介许可证》(机构编码202778000000800,许可证流水号00034576)。该许可证因遗失无法缴回。

公开资料显示,山东安盈保险代理有限公司成立于2005年10月13日,注册资本300万元。经营范围包括:依据中国保险监督管理委员会核发的《经营保险代理业务许可证》开展经营活动。(依法须经批准的项目,经相关部门批准后方可开展经营活动)。
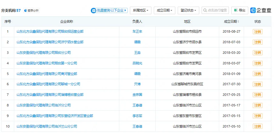
根据企查查信息显示,山东安盈保险代理有限公司曾设有57处分支机构,目前56家已经是注销状态,仅剩一家——青岛懿德保险代理有限公司威海分公司仍处于在业状态。



